5th Floor, No. 3, Jinghong West Road, Liushi Town, Yueqing City, Wenzhou City, Zhejiang Province +86-13057710980 +86-18334450116 [email protected]
Outdoor Vacuum Circuit Breaker
![]() |
![]() |
![]() |
Model meaning
The ZW32-12FG outdoor high-voltage intelligent vacuum circuit breaker (hereinafter referred to as the "intelligent circuit breaker") is a new product independently developed by our company. This boundary circuit breaker integrates four functions—vacuum circuit breaker, boundary circuit breaker, and sectioner—into one multifunctional and intelligent device. It primarily consists of three major components: the vacuum boundary circuit breaker unit, the FDR controller, and an external voltage transformer (note: dual-side PT can be selected in distribution automation looped lines).
The vacuum boundary circuit breaker supports remote management modes, protection and control functions, as well as communication capabilities. It can reliably detect and measure milliampere-level zero-sequence currents within the designated boundary and phase-to-phase short-circuit fault currents, enabling automatic isolation of single-phase grounding faults and phase-to-phase short-circuit faults.
Key Features and Benefits
|
Outdoors-Only Model: The device is made for the outdoors and it can be used in any type of weather without fail or repair due to its sealing against wind, rain, snow, dust, and even sunlight, thus it can be operated reliably in any environment. Vacuum Interruiper Technology: The vacuum interrupter chamber is also used in vacuum breakers like the ZN63 for the ZW32, which offers high breaking capacity, long service life, and zero risk of fire. Short and Light: Either a three-phase shared enclosure or separate enclosures are used for the breaker so that it is small and light and the installation of the pole-mounted can be done easily. Control Choices of Wide Range: An Electric spring operating mechanism can be equipped on it, and integration with controllers (FTUs) will enable the automation functions remote control, telemetry, and communication—thus the device is the main component in smart grid applications. Non-Service Life: The vacuum interrupter is sealed thus it has a very long operational life, and virtually no maintenance is required. |
General product information
Place of Origin: |
5th Floor, No. 3, Jinghong West Road, Liushi Town, Yueqing City, Wenzhou City, Zhejiang Province |
Brand Name: |
MINGTUO |
Model Number: |
VCB(ZW32) |
Certification: |
IOS CE ROHS |
Product Commercial Terms
Minimum Order Quantity: |
1 |
Price: |
800$ |
Packaging Details: |
Wooden box packaging |
Delivery Time: |
Within fifteen days |
Payment Terms: |
100% prepaid, 70%/30%, 80%/20% |
Supply Ability: |
Available at any time |
Detail Display
High quality material selection
● Vacuum Tube
Adopting a brand new vacuum tube with a large capacity for breaking, the copper content is high, and the service life of the circuit breaker is introduced to eliminate safety hazards
![]() |
![]() |
![]() |
![]() |
![]() |
● Intelligent Controller(optional)
Suitable for northern regions, high-altitude and low-temperature climate areas, with shell protection, can be used normally in harsh environments, and the display screen will not freeze.
The intelligent controller is easy to operate, allowing for remote control and parameter adjustment of the circuit breaker on-site, making it convenient, concise, and time-saving
![]() |
![]() |
![]() |
![]() |
● High-Precision Voltage Transformer (PT)
Features a premium silicon steel core and precision machine-wound enameled copper windings. Ensures accurate turns count and high measurement accuracy.
![]() |
![]() |
![]() |
● Silicone Insulation Bushings
Made of high-grade silicone for superior aging and abrasion resistance. Provides excellent pollution protection and enhanced lightning impulse withstand capability.
● Stainless Steel Housing
Constructed from thick, corrosion-resistant stainless steel. Offers high IP rating, exceptional durability, and a significantly extended service life.
![]() |
![]() |
![]() |
![]() |
Product Selection
● Normal manual: ZW32-12/630-20
● Manual isolation: ZW32-12G/630-20
● Intelligent electric with stainless steel controller: ZW32-12F/630-20
● Intelligent electric belt with isolation and stainless steel controller: ZW32-12FG/630-20
● Intelligent isolation with stainless steel controller: ZW20-12FG/630-20-20
● Intelligent stainless steel controller without isolation: ZW20-2F/630-20-20
Technical Specification for Ordering ZW32 Outdoor Vacuum Circuit Breaker
Product Name and Model:
1.Rated Voltage
□12KV
2.Rated Current
□630A
3.Breaking Current
□25KA
4.Isolating Switch
□Without Isolation
□With Isolation
5.Phase-to-Phase Protection CT
□Two-phase protection (A, C)
□Three-phase protection (A, B, C)
□CT Transformation Ratio 600 / 400 / 200 /5A
□CT Transformation Ratio 300 / 200 / 100 /5A
□CT Transformation Ratio 150 / 100 / 50 /5A
6.Zero-Sequence Protection CT
□Independent 20/1A
□Synthetic Zero-Sequence Others
7.External Power Supply PT
□10/0.22KV
□10/0.1/0.22 Others
8.Operation Mode Manual (□Left Operation □Right Operation)(Determined by Installation Position)
□Electric AC220V
□DC220V Connected via Aviation Plug or Cable
9.Controller
□With Mobile SMS Function
□With RS232 Interface
□With Local Remote Control Function
□Parameter Setting via DIP Switch Parameter Setting with LCD Display
10.Cabinet
□Carbon Steel Sprayed Cabinet
□Stainless Steel Cabinet
□With Mounting Bracket
Please tick "√" in the corresponding "□" according to the required technical specifications.
If there are other special requirements, please specify them here:
|
Type Test ● Insulation Performance Test: Performed in accordance with IEC 62271-1, including power-frequency withstand voltage and lightning impulse withstand voltage tests, to verify exceptional insulation reliability. ● Temperature Rise Test: Conducted at 1.1 times rated current for an extended period, ensuring all components meet standard limits and provide reliable long-term overload capability. Routine Factory Test ● Mechanical Characteristic Test: 100% inspection of opening/closing time, speed, synchronism, and bounce to ensure precise and consistent operation. ● Main Circuit Resistance Measurement: Measured with a micro-ohmmeter to ensure low and stable contact resistance for efficient conductivity. ● Secondary Circuit Power-Frequency Withstand Voltage Test: Verifies insulation integrity of the control unit and auxiliary circuits. ● Partial Discharge Test: Tested with high-sensitivity instruments to ensure no internal defects in insulation media, guaranteeing long-term operational safety. |
Technical data sheet
|
Item |
Unit |
Numerical value |
|
Rated voltage |
kv |
12,33 |
|
Rated frequency |
Hz |
50,60 |
|
Rated current |
A |
630,1250 |
|
Rated short circuit breaking current |
KA |
20,31.5 |
|
Rated peak withstand current |
KA |
50,80 |
|
( 4S ) rated short-time withstand current |
KA |
20,31.5 |
|
Rated short-circuit making current(peak value) |
KA |
50,80 |
|
Mechanical life |
time |
10000 |
|
Rated current breaking times |
time |
10000 |
|
Breaking times of rated short circuit breaking current |
time |
30 |
|
1 min interphase power frequency withstand voltage (wet and dry) , to ground/fracture |
KV |
42,55 |
|
Interphase lightning impulse withstand voltage(peak value), to ground/fracture |
KV |
75,85 |
|
Second circuit 1 min power frequency withstand voltage |
KV |
2 |
Mechanical characteristic
|
Item |
Unit |
Numerical value |
|
Clearance between open contacts |
mm |
10±1 |
|
Over-travel of the contact |
mm |
3±1 |
|
Opening speed |
m/s |
1.2±0.2 |
|
Closing speed |
m/s |
0.8±0.2 |
|
Closing bouncing time of contact |
ms |
≤2 |
|
Inter phase central distance |
mm |
380±1.5 |
|
Non-synchronism of three-phase opening and closing |
ms |
≤2 |
|
Resistance of contactor circuit of each phase |
μ Ω
|
≤80 |
|
Resistance of contactor circuit of each phase of disconnecting switch |
μ Ω |
≤150 |
|
Closing time |
ms |
25~60 |
|
Opening time(shunt trip) |
ms |
18~45 |
|
Rated power of energy-storage electromotor |
W |
40 |
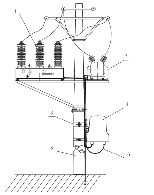
Outline and Installation Dimensions of the Boundary Circuit Breaker


Schematic diagram of single-pole mount installation of ZW32-12FG split circuit breaker
![]() |
1:柱上开关 Switch on the column 2:高压互感器 High voltage transformer 3:控制器安装架 Controllermountingframe 4:FDR看门狗控制器 FDRwatchdogController 5:电线杆 telegraphpole 6:控制电缆、电源电缆 Controlcable,powersupplycable |
Application scenarios
![]() |
![]() |
![]() |
![]() |
This product is widely used in 10kV urban and rural distribution network overhead looped lines as a sectioning isolator, tie switch, and an automated switching device for load transfer in ring networks. It can serve as a boundary switch (commonly known as a "watchdog") in branch lines supplying large consumers, and as a boundary circuit breaker or sectioner in overhead feeder distribution networks.
Main Applications
- 12kV overhead distribution lines
- Feeder protection and control
- Substation outgoing lines
- Industrial power supply systems
- Renewable energy grid connections
Key Application Areas
Distribution Network Protection
- Overhead line protection in rural and urban grids
- Feeder automation in smart grid systems
- Fault isolation and service restoration
- Line segmentation control
Utility Applications
- Pole-mounted installation for utility grids
- Substation outgoing line protection
- Transformer protection and control
- Capacitor bank switching
Industrial & Commercial Use
- Factory incoming line protection
- Mining and quarry power systems
- Renewable energy grid connections
- Large commercial complex power supply
Special Environments
- Coastal areas with high corrosion resistance
- Extreme temperature zones (-40°C to +55°C)
- High altitude installations up to 4000m
- Heavy pollution areas
Packaging:
![]() |
![]() |
![]() |
Outer Packaging
Strong wooden crates are used to ensure ample mechanical strength, making them suitable for large circuit breakers and international shipments.
Inner Packaging
Each circuit breaker is wrapped in cushioning materials such as foam, bubble film, or pearl cotton to prevent damage from vibration and impact.
For larger units, a layered packaging design may be used, with accessories (e.g., manuals, tools, spare parts) placed in the upper compartment.
Upgraded Packaging

Testing report and instruction manual:
![]() |
![]() |
![]() |
Production Line:
![]() |
![]() |
![]() |
![]() |
![]() |
![]() |
![]() |
![]() |
![]() |
![]() |
![]() |
![]() |
![]() |
![]() |
![]() |
![]() |
![]() |
![]() |
![]() |
![]() |
Quick Detail:
ZW32 Outdoor Vacuum Circuit Breaker - Reliable Distribution Protection
Product Overview
The ZW32 outdoor vacuum circuit breaker is a compact and versatile switching device designed for pole-mounted installation in 12kV distribution networks. Combining advanced vacuum interruption technology with robust environmental protection, it delivers exceptional performance in diverse outdoor applications.
Key Specifications
- Rated Voltage: 12kV
- Rated Current: 400A, 630A, 1250A
- Breaking Capacity: 16kA, 20kA, 25kA
- Mechanical Life: 10,000 operations
- Installation: Pole-mounted
- Operating Temperature: -40°C to +55°C
Technical Features
- Sealed vacuum interrupter with maintenance-free design
- Spring-operated mechanism (manual/remote control)
- IP67 protection rating for harsh environments
- Compact dimensions: 880×560×680 mm (H×W×D)
- Galvanized steel construction with corrosion resistance
- Optional CT integration and smart controller
Quality & Certification
Manufactured in compliance with IEC 62271-100 standards, each unit undergoes rigorous testing including power frequency withstand voltage (42kV/1min), mechanical endurance, and temperature rise tests. The breaker ensures maintenance-free operation for 20 years with 99.9% reliability.
Service Support
- Custom configuration available
- Global certification support
- 24-month warranty period
- Technical documentation in multiple languages
ZW32 Outdoor Vacuum Circuit Breaker - Primary Applications
Core Function & Purpose
The ZW32 Outdoor Vacuum Circuit Breaker serves as a reliable protection device for 12kV overhead distribution networks. Its primary function is to automatically interrupt fault currents while providing safe switching operations in various outdoor environments.
Key Advantages
- Minimal maintenance requirements
- Suitable for frequent operations
- Excellent environmental adaptability
- Easy installation and integration
- Reliable performance in harsh conditions
The ZW32 ensures stable power distribution while enhancing system reliability and safety across various outdoor applications.
Competitive Advantages of ZW32 Outdoor Vacuum Circuit Breaker
1. Superior Technical Performance
- 25kA breaking capacity with 0.06s rapid response
- 10,000 mechanical operations guarantee
- -40°C to +55°C wide temperature operation
- 100% rated current breaking at 12kV
2. Advanced Vacuum Interruption
- Patented axial magnetic field contacts
- Certified vacuum interrupters from quality suppliers
- Stable performance throughout product lifecycle
- Minimal contact erosion (<2mm after 100 operations)
3. Enhanced Safety & Reliability
- Fully insulated enclosed design
- Visible isolation gaps meeting international standards
- Comprehensive mechanical interlocks
- IP67 protection for harsh environments
4. Smart Operation Features
- Integrated microprocessor protection
- Real-time monitoring interface
- Remote control capability
- Predictive maintenance alerts
5. Quality Assurance
- 100% factory testing including:
- 42kV power frequency withstand voltage
- Contact resistance measurement
- Mechanical operation tests
- Certified to IEC 62271-100 standards
- 3-year product warranty
6. Customization & Service
- Special configurations for extreme conditions
- Retrofit solutions available
- Custom control voltage options
- OEM manufacturing support
Our ZW32 breakers combine 20+ years manufacturing expertise with continuous innovation, delivering 99.98% operational reliability while reducing maintenance costs by 50% compared to conventional solutions.
Q: What is the voltage/current range of this product? What is its breaking capacity?
A: Please contact customer service for details.
Q: What is the minimum order quantity? Do you accept sample orders?
A: The minimum order quantity is 1 set, and we accept sample orders.
Q: What is the warranty period? How do I apply for a warranty?
A: The product warranty is 1 to 2 years. Please contact customer service directly to apply.
Q: Do you have CE, RoHS, UL, or other certifications? Can you provide certificates?
A: We have CE and RoHS certifications and can provide certificates.
Q: Does the price include tax/shipping?
A: The price does not include shipping/tax.
Q: What notable clients or project examples have you worked with?
A: State Grid Corporation of China, Chint Group.